您好,欢迎进入BTE365所有网址官网!
13921705661

联系我们

BTE365所有网址
联系人:周经理
电话:0523-86668661
手机:13921705661
邮箱:[email protected]
地址:泰州市百饰得装饰城 在线咨询

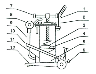
GZ型脚踏式注油器使用说明

发布日期:2025-06-11 浏览次数:24

GZ型脚踏式注油器使用说明

先将该机丝杠(7)上旋,卸下紧固帽(2),把桶盖和压簧总成提出桶内。再把放气螺丝(6)旋下,皮碗(4)中心提片用手指用力提出,把润滑脂加入储油桶(11)内(留出压簧(3)和皮碗的空间),而后以上部件按原位置装好旋紧。将丝杠(7)下旋,使压簧(3)压缩(用力不必过猛),把放气螺丝松开,脚踏几次,踏架(10)每踏一次踏架须回升到z高处,再往返,使放气螺丝(6)放气出油为止,紧固,再踏两脚以上,胶管(9)产生高压,提出加油木仓(8)勾动木仓机,即可注油。

e7370ad790c43c219733f03b5eb3698d.png

你觉得这篇文章怎么样?

0 0
标签:全部
网友评论

管理员

该内容暂无评论

北美地区网友
0523-86668661