
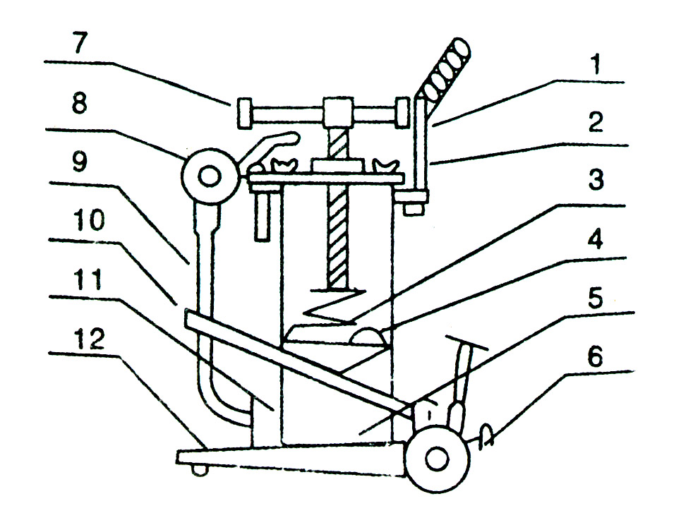
1、推把 2、紧固帽 3、压簧 4、皮碗 5、过滤网
6、放气 7、丝杠把 8、加油枪 9、胶管
10、脚踏架 11、储油桶 12、机座
脚踏式注油器使用说明
先将该机丝杠(7)上旋,卸下紧固帽(2),把桶盖和压簧总成提出桶内。再把放气螺丝(6)旋下,皮碗(4)中心提片用手指用力提出,把润滑脂加入储油桶(11)内(留出压簧(3)和皮碗的空间),而后以上部件按原位置装好旋紧。将丝杠(7)下旋,使压簧(3)压缩(用力不必过猛),把放气螺丝松开,脚踏几次,踏架(10)每踏一次踏架须回升到zui高处,再往返,使放气螺丝(6)放气出油为止,紧固,再踏两脚以上,胶管(9)产生高压,提出加油枪(8)勾动枪机,即可注油。
管理员
该内容暂无评论